恩拓博

资讯详情
悬浮鼓风机的维修需要注意哪些方面?
现在的客户把机器买回家,会不怎么爱惜机器,要么就是工人不知道怎么操作机器导致悬浮风机的损坏或出现故障。
那么我们要对悬浮风机出现的损坏或故障如何做出评判呢?

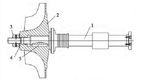
小编我今天拿悬浮风机里的一个叶轮来比喻,很多客户叶轮坏了就找我们买叶轮,而他们不知道,当叶轮坏了的时候它的连接部件有没有坏,是不是就买一个叶轮就可以解决的事情,答案是不对的!因为当叶轮坏了的时候我们要考虑一系列叶轮连接的部件,比如:主轴承、螺母、垫片、推力盘等连接部件。

空气悬浮风机叶轮部件展示图

首先我们要看叶轮的损坏程度,再来询问客户其他部件是否有损。如果机器其他部件有损坏的时候你单买一个叶轮是解决不了问题的。这时候就要问清楚,以免之后客户买回去不能使用。
所以买风机和配件一定要找靠谱的企业,有问题可咨询,不懂的可现场教学哦!
买悬浮鼓风机就找上海恩拓博机械有限公司专 业销售 鼓风机15年!
返回列表
上一篇
下一篇